Exhaust Gas Sensor Bank 1 Перевод… Re коды ошибок
Что такое Банк 1 и Банк 2, Датчик 1 и Датчик 2 (Bank 1, Bank 2, Sensor 1, Sensor 2)
Чем дальше идет время, тем больше электроники задействуется в автомобилях. Благодаря датчикам, электронный блок управления получает необходимые сигналы и корректирует работу двигателя и топливной системы. Одним из жизненно важных датчиков машины является датчик кислорода, рассмотрим его на примере автомобиля ВАЗ 2115.
Датчик кислорода, по-простому называется лямбда-зонд, необходим для возможности определения количества кислорода, содержащегося в выхлопных газах. Благодаря данным, полученным от кислородного датчика, электронный блок управления корректирует количество топливной смеси, позволяя двигателю работать в нормальном режиме.
Поскольку лямбда-зонд начинает полноценно функционировать только после температуры свыше 350 градусов, то его условия эксплуатации можно смело назвать агрессивными. Рекомендуется производить его диагностику через каждые 25 тысяч километров пробега. Производить замену рекомендуется после пробега в 100 тысяч километров. Но он может служить и гораздо дольше, для этого необходимо:
- Производить заправку транспортного средства бензином, указанным в инструкции;
- Когда производится проверка цилиндров, зажигание должно оставаться включенным;
- Узлы выхлопной системы не должны перегреваться свыше 900 градусов.

Первая диагностика. Жду подсказок. 4 цилиндровые — Opel Omega Club
- Двухточечный, узкополосный (простой). Работает основываясь на измерении количества кислорода в выхлопных газах. Чем беднее ТВС, тем ниже напряжение, богаче — выше.
- Широкополосный. Генерирует сигнал более широкого диапазона для точной оценки пропорции в ТВС.
Диагностика и ремонт: система EVAP Измерьте сопротивление в соответствии со значениями, приведенными в таблице ниже.
Система EVAP
Обычно, очень немногие диагносты и сервисы берутся за полное устранения проблем в этой системе. Стандартный ответ в авто-сервисе на горящий транспорант CHECK ENGINE и диагностические коды DTC P0440 — P0457.
С этим кодом неисправности они сталкивались, знают, что «код сложный», но отвечают так, чтобы «не вникать и не создавать себе проблем»:
— На скорость этот код не влияет, ошибку удалим и езжайте себе на здоровье!
Так как диагностика это мой хлеб, а неисправности в системе EVAP довольно частое явление, то я решил для себя постараться разобраться с этой системой, её «стандартными болячками» и методами их устранения.
Для начала немного истории и статистики.
Первые автомобили оснащённые системой EVAP появились в штате Калифорния, США, в уже очень далёком 1970 году.
С 1996 года после вступления в силу нового стандарта мониторинга систем автомобиля OBDII, система EVAP была классифицирована 17 кодами возможных неисправностей:
Согласитесь, довольно внушительный список, а если ещё учесть, что по американской статистике коды EVAP являются наиболее частой причиной обращения автовладельцев в автосервис, то упускать такой лакомый кусок в своей работе просто не очень разумно.
Наиболее распространенные коды неисправностей
Ниже приведен список наиболее распространенных кодов неисправностей, а проценты – это процент отказов для автомобилей в ходе проведённых испытаний в 2009 году в Америке, штат Иллинойс:
P0141 — Oxygen Sensor Heater (H02S) Performance Bank 1 Sensor 2 — 5.1%
P0135 — Oxygen Sensor (HO2S) Performance Bank 1 Sensor 1 — 3.2%
P0301 — Cylinder 1 Misfire Detected — 3.1%
P0303 — Cylinder 3 Misfire Detected — 2.6%
P0304 — Cylinder 4 Misfire Detected — 2.6%
P0302 — Cylinder 2 Misfire Detected — 2.6%
По единичным кодам лидирует P0420 , но если разбить все коды на системы,
то картина выглядит следующим образом:
Я решил посмотреть: «…а что же у нас?»… и поднял свои записи за 9 месяцев 2011 года. Ситуация вырисовалась немного другая, проблемы в системе EVAP переместились на второе место, уступив первенство проблемам с датчиками кислорода, но всё равно, 19% — это солидная цифра.
Экологические нормы требуют, чтобы на автомобиле постоянно проводился периодический мониторинг системы EVAP , определяющий её производительность и герметичность. Это всё ( и другие компоненты системы) , проверяются при помощи измерения давления на различных этапах работы системы.
Первый шаг : «Г ерметизировать систему для тестирования » .
— линию от впускного коллектора к канистре
В конце, после локализации и устранения утечки проводится заключительное тестирование всей системы. К сожалению, режим Check mode не работает для кодов системы EVAP и это немного усложняет проверку выполненных работ по устранению неисправностей.

Что такое Банк 1 и Банк 2, Датчик 1 и Датчик 2 (Bank 1, 2, Sensor 1, 2 )?
Большинство программ для диагностики позволяют Вам выполнять следующие операции: Прочитать диагностические коды ошибок, общие и специфические от изготовителя, и показать их значение (более чем 3000 диагностических кодов в базе данных всех программ).
Наш фотоархив

Коды ошибок: считывание и расшифровка
Решение проблемы кода неисправности P0022: расшифровка, причины, сброс Рассмотрим систему EVAP на примере автомобилей концерна Toyota
Наш фотоархив

Содержание:
Вывод

Симптомы неисправности
Можно ли заменить самостоятельно Датчик кислорода, по-простому называется лямбда-зонд, необходим для возможности определения количества кислорода, содержащегося в выхлопных газах. Благодаря данным, полученным от кислородного датчика, электронный блок управления корректирует количество топливной смеси, позволяя двигателю работать в нормальном режиме.
Re: Коды ошибок
Автомобильные диагностические сканеры по протоколу OBD II :
■Сканер ELM327 USB
ELM327 USB это последняя версия популярного адаптера для диагностики автомобилей по протоколу OBDII. Осущетвляет диагностику по все протоколам OBDII (включая CAN). Работает при подключении к ПК через USB.

ELM327 USB — диагностическое оборудование OBD II
ELM327 USB это последняя версия популярного адаптера для диагностики автомобилей по протоколу OBD II. Осуществляет диагностику по все протоколам OBD II (включая CAN). Работает при подключении к ПК через USB.
Функциональные возможности диагностического прибора:
■Работа по протоколу OBD II;
■Считывание кодов неисправностей;
■Удаление кодов неисправностей;
■Вывод параметров реального времени;
■Вывод результатов внутренних тестов системы самодиагностики;
■Считывание VIN-кода (для автомобилей с 2004 г.в.);
■Расширенные функции (зависят от программного обеспечения).
Поддерживаемые диагностические интерфейсы:
■ISO9141-2;
■ISO14230-2 (KWP2000);
■SAE J1850 VPW;
■SAE J1850 PWM;
■ISO 15765-4 CAN.
Особенности ELM327 USB.
Большинство программ для диагностики позволяют Вам выполнять следующие операции: Прочитать диагностические коды ошибок, общие и специфические от изготовителя, и показать их значение (более чем 3000 диагностических кодов в базе данных всех программ).
■U-480 OBDII CAN
Предназначен для чтения, стирания ошибок в бортовом компьютере автомобиля по протоколу OBDII. Прибор имеет небольшие размеры, малый вес и низкую цену, очень прост в использовании.
Автомобильная диагностика — портативный сканер U-480 OBDII CAN
Портативный сканер U-480 OBDII CAN предназначен для чтения, стирания ошибок в бортовом компьютере автомобиля. Автосканер имеет небольшие размеры, малый вес и низкую цену, очень прост в использовании.
U-480 OBDII CAN специально спроектирован для использования владельцами автомобилей. Используя U-480 OBDII CAN, Вы можете быстро выяснить причину неисправности в электрике вашего автомобиля просто подсоединив U-480 OBDII CAN к диагностическому разъему, прочитать цифровой код ошибки и посмотреть расшифровку данного кода в прилагаемой инструкции.
Особенности диагностического сканера U-480 OBDII CAN:
■Работает со всеми автомобилями с 1996 года выпуска поддерживающими протокол OBD II (включая поддержку CAN шины)
■Читает и стирает коды ошибок и сбрасывает лампочку Check Engine
■Легок в использовании, нет необходимости использовать отдельный ПК
■Не требует дополнительного питания, питание используется через OBD разъем
Цена: 2500 руб.
■Автосканер «СКАНМАТИК»
Адаптер сканматик служит для подключения персонального компьютера к диагностическому разъему автомобиля при работе с программой СКАНМАТИК. Объединяет в себе все протоколы OBD-2, протокол CAN а так же полная диагностика всех отечественных автомобилей.
Техническое описание и расшифровка ошибки P242D
Диагностика и решение проблем При выполнении всех условий выходное напряжение датчика температуры отработавших газов № 3 в течение не менее 3 с превышает 4,95 В (логика диагностирования за 1 поездку):
#6

OFFLINE Alexvl65
- Пол: Мужчина
- Характеристики автомобиля: Opel Omega B, 2000, МКПП , Y22XE Караван
- Имя: Александр
- Город: г.Великие Луки
Да вот ток седня снимал ДС , промыл , заменил все одубевшие и подозрительные на это шланги . Как тока все собрал и завел — ошибка Р0170 . Пока ехал домой — Р1555 . В принципе все логично , говняный бензин — сразу 0170 . Еду , она не едет , давлю в пол — Р1555 . Как бы это может кому пригодится , но АЗС завтра поменяю . Отпишусь .
Еще вопрос в догонку : в свечных колодцах полно масла было , особенно в 3 и 4- ом . Это что , прокладка клапанной крышки ?
#11
P242D Особенности диагностического сканера U-581 OBDII CAN:
1.Жидкокристалический дисплей с разрешением 128*64, с регулировкой контрастности и подсветкой.
2.Выбор основных режимов диагностики.
3.Возврат к предыдущему меню.
4.Переход «Вверх», «Вниз».
5.Подтверждение вариантов меню.
6.Кабель соединителя OBDII.
7.Аккумуляторный отсек.
Цена: 6500 руб.
Диагностика и решение проблем
Сначала необходимо считать все сохраненные данные и коды ошибок с помощью сканера. Затем очистить коды ошибок и провести тест-драйв автомобиля. Чтобы выяснить, появляется ли ошибка P242D снова.
После этого визуально осмотреть датчик температуры отработавших газов, стоит обратить внимание на утечки выхлопных газов. Также проверить сам датчик и жгут проводов, подходящих к нему. Высокие температуры могут вызвать повреждение проводов с пластмассовой и резиновой изоляцией, поэтому внимательно их проверяйте.
Черная сажа может указывать на утечку выхлопных газов, поэтому внимательно осмотрите места соединений.
Проверка датчика и системы EGR
Многие проблемы с рециркуляцией отработавших газов, вызваны скоплением сажи в выхлопе. Поэтому может быть полезно очистить систему EGR или, по крайней мере, датчик температуры.
После снятия датчика используйте очиститель карбюратора или аналогичный продукт, чтобы эффективно пропитать сажу. С помощью металлической щетки удалите сажу на чрезмерно скопившихся участках. При повторной установке чистого датчика обязательно нанесите на резьбу противозадирный состав, чтобы предотвратить заедание.
Для проверки датчика используйте фен или тепловой пистолет для нагрева, наблюдая за омметром. Сопротивление должно падать при нагревании датчика и повышаться при охлаждении, если этого не происходит, замените его.
Если неисправен сам датчик, для устранения кода P242D в качестве временной меры можно установить резистор на 2,2 Ом. Просто удалите датчик EGT и подключите резистор к электрическому разъему на стороне двигателя, изолируйте его, и компьютер убедится, что EGT работает правильно.

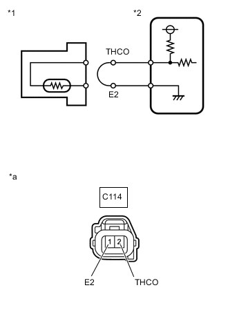
| P242C | Низкий уровень сигнала в цепи датчика температуры отработавших газов (для датчика 3 ряда 1) |
#15
- Очистите коды ошибок и проведите тест-драйв автомобиля, чтобы выяснить появляется ли код P242D снова.
- Визуально осмотрите датчик температуры отработавших газов и все соответствующие цепи, особенно в местах контакта с горячими компонентами.
- Проверьте соединители на предмет ослабления и наличия коррозии.
- Осмотрите провода на наличие повреждений, которые могут привести к короткому замыканию.
- Проверьте сопротивление датчика температуры отработавших газов с помощью омметра.
- Протестируйте датчик температуры отработавших газов.
- Проверьте наличие утечек в системе.
- Протестируйте модуль ECM и связь с ним.
Признаки неисправности лямбда-зонда
OFFLINE Олегыч
На каких автомобилях чаще встречается данная проблема
Проблема с кодом P0022 может встречаться на различных машинах, но всегда есть статистика, на каких марках эта ошибка присутствует чаще. Вот список некоторых из них:
- Acura
- Audi
- BMW
- Chevrolet
- Dodge
- Ford (Форд Мустанг, Таурус, Экспедишн, Эскейп, F-150)
- Honda
- Hyundai
- Isuzu (Исузу Эльф)
- Kia
- Land Rover (Ленд Ровер Рендж Ровер)
- Lexus (Лексус ls460)
- Mercedes
- Mitsubishi
- Nissan
- Peugeot (Пежо 307)
- Subaru
- Toyota
- Volkswagen
С кодом неисправности Р0022 иногда можно встретить и другие ошибки. Наиболее часто встречаются следующие: P0010, P0011, P0012, P0018, P0020, P0021, P0025, P0171, P0305, P0342, P0345, P0351, P2198.

#5
- Загорится контрольная лампа «Check engine» на панели управления (код будет записан в память ECM как неисправность).
- Двигатель автомобиля может запускаться с трудом.
- Плавающие обороты, а также попытки заглохнуть на холостом ходу.
- Возможны и другие симптомы.
Вывод Суть заметки в следующем: «… причиной возникновения вышеуказанного кода послужило гнездо, которое свили пауки в соленоиде (EVAP Vent Solenoid Valve) и отложенные ими яйца почти полностью перекрыли доступ свежего воздуха по вентиляционному каналу в накопительный абсорбер».
