Датчик холостого хода ВАЗ 2112 – замена без специалистов

Датчик холостого хода важен для автомобиля. Он обеспечивает исправную работу силового агрегата на оборотах вхолостую. Не позволяет ему заглохнуть, когда коробка передач находится в нейтральном или промежуточном положении.
Из чего состоит и как работает ДХХ
Датчик хода вхолостую – это регулятор (РХХ), который предназначен следить за процессом работы мотора. В холода желательно прогревать двигатель, даже если это инжектор. Лучше пусть он немного поработает в холостом режиме.

Внешним видом он напоминает электромоторчик, состоящий из шагового электродвигателя, пружины и штока с запорной конусной иглой. Корпус датчика прикреплен двумя болтами к кожуху дроссельного узла автомобиля. Его функция аналогична инжектору, пропускающему больше или меньше топлива, – дозировать количество воздуха, поступающего в камеру сгорания при холостой работе. Осуществляется это путем изменения расположения иглы. Благодаря игле перекрывается специальный канал, предназначенный для подачи воздуха.
Во время работы двигателя на оборотах вхолостую от датчика позиционного коленчатого вала передается импульс контроллеру, который определяет требуемые обороты. Согласно этому, подаются команды РХХ об изменении объема воздушного потока в меньшую или в большую сторону.

Если при полностью закрытой дроссельной заслонке контроллер командует, что необходимо увеличить холостой оборот, регулятор подает сигнал изменить положение иглы. Происходит ее перемещение, при котором перекрывается совсем или частично входное отверстие. Оно служит для поступления воздуха в камеру сгорания, минуя узел дросселя, и перемешивается с топливом.
Симптомы неисправности датчика
Надежность работы топливной системы автомобиля во время холостого хода напрямую зависит от состояния регулятора. ВАЗ 2112 не имеет системы электронной самодиагностики, из-за этого на приборной доске не высвечивается предупреждений о возникающих сбоях. Определить наличие дефекта возможно по следующим симптомам:
- после прогрева мотора количество оборотов не увеличиваются;
- двигатель резко прекращает работу;
- плавные обороты во время холостого хода;
- машина плохо стартует, даже при нажатии на педаль газа;
- при включении приборов, потребляющих большое количество энергии (фар, печки, магнитолы и т.д.) понижаются обороты;
- мотор глохнет, если включена нейтралка или при переключении скоростей во время движения.
При появлении перечисленных симптомов можно сделать вывод, что в датчике ХХ неисправны отдельные детали или на них появился слой ржавчины. Тогда его необходимо заменить.
Методы тестирования устройства
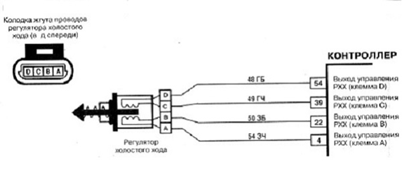
Для тестирования датчика холодного хода на работоспособность нужно отсоединить от него штекер с кабелями и присоединить мультиметр в режим вольтметра. Далее проверяется напряжение, поступающее на РХХ. Минусовой щуп тестера подключают к массе (корпусу двигателя), плюс на снятую колодку к выводам А и D. После включения зажигания проверяются значения, выдаваемые на датчике ХХ, напряжение не должно быть ниже 12 В. При меньших значениях причина может быть в разряженном аккумуляторе, отсутствие напряжения говорит о разрыве в цепи.

Сначала проверяется электрическая цепь в целом, потом управляющий блок. Если неисправностей не выявлено, проверяют регулятор хода вхолостую. Подключают клеммы мультиметра, установленного в режим омметра, к выходам колодки. Схема подключения следующая:
- Изначально проверяют выходы А и В, потом С и D. При исправном устройстве показания должны быть равны 53-54 Ом.
- На следующем этапе проводят замеры на выходах А и D, В и С. Сопротивление близко к бесконечному – это норма.
Есть еще один способ проверки. Датчик снимается с авто, к нему присоединяется колодка. Пальцем нужно нажимать на иглу и следить за ее движением. Когда включается/выключается зажигание, на исправном устройстве игла начинает двигаться.
Иногда для восстановления работоспособности датчика ХХ достаточно его снять и почистить специальными средствами, например, очистителем карбюратора в баллонах или WD-40. На ватную палочку наносится средство, и тщательно обрабатываются контакты. Если много масляных пятен и грязи, средством чистится весь дроссельный узел. После чистки все детали должны хорошо просохнуть.
Как снять и заменить ДХХ: подробная инструкция
Если выявилось, что неисправен датчик холостого хода, то его нужно заменить новым. Процедура замены датчика несложная и по силам даже начинающему автолюбителю. Нужно заранее приобрести датчик. Для ВАЗ 2112 подходит РХХ с артикулом 2112-1148300.
Приобретать изделие лучше в специализированных магазинах. При покупке нужно обращать внимание качество нанесения шрифта и наличие голограмм, чтобы избежать подделки. Резиновая прокладка на оригинале красноватого оттенка, расстояние от корпуса до кончика иглы ложно быть 23 мм. На детали не должно быть механических повреждений, зазоров, люфтов, все элементы надежно соединены.

Для откручивания креплений понадобится крестообразная отвертка. Процесс замены представляет собой последовательность шагов:
- Сначала нужно обесточить автомобиль, сняв отрицательную клемму с аккумулятора.
- Затем нажимают на пластиковый фиксатор, отсоединяют колодку проводов и убирают ее в сторону, чтобы не мешала работе.

- Затем с помощью отвертки выкручивают два болта,но не до конца. Окончательно выворачивают крепления руками, чтобы они не упали и не потерялись.

- Далее вынимается неисправный датчик, зачищается посадочное место от пыли и загрязнений. Чтобы они не попали в отверстие.
- Перед установкой нового устройства следует смазать моторным маслом уплотнительную резинку. Новый РХХ вставляют в отверстие пока он плотно не войдет.

- Устройство закрепляют болтами. Затем присоединяют штекер с проводами, и подключают аккумулятор.
После окончания процедуры выполняют калибровку. Никаких усилий прилагать не нужно, всю калибровочную работу делает электронное реле. Нужно включить зажигание и дать поработать мотору несколько минут. После замены и калибровки оборот должны быть стабильными, не плавать, то увеличиваясь, то уменьшаясь. Силовой агрегат должен работать без сбоев. На холостым ходу коленвал должен вращаться в пределах 0,8±0,05 тыс. об/мин.
Замена датчика холостого хода на ВАЗ 2112

