Passenger Airbag on Горит Тойота Королла… Устранение неполадок
СИСТЕМА ПОДУШЕК БЕЗОПАСНОСТИ > СИСТЕМА ДИАГНОСТИКИ
Метод применения вибрации: В тех случаях, когда предполагается, что основной причиной неисправности является вибрация.
УКАЗАНИЕ: Применять метод проверки с имитацией условий возникновения неисправности следует только во время первичной проверки (примерно 6 с после включения зажигания (IG)).
Пальцем слегка потрясите деталь датчика, которая, по предположению, неисправна, и проверьте, возникает ли неисправность.
УКАЗАНИЕ: Воздействие сильной вибрации на реле может привести к размыканию контактов.
Слегка встряхните разъем в вертикальном и горизонтальном положениях.
Слегка встряхните жгут проводов по вертикали и горизонтали.
Тщательно проверяйте соединения разъема и точки, подвергающиеся действию вибрации.
Выключите зажигание. Подождите не менее 2 секунд, а затем включите зажигание (IG). Контрольная лампа аварийного состояния SRS загорается примерно на 6 секунд, в течение которых выполняется диагностика системы подушек безопасности (включая преднатяжители ремней безопасности).
УКАЗАНИЕ: В случае обнаружения неисправности во время первичной проверки контрольная лампа аварийного состояния SRS будет гореть и после завершения проверки (которая займет примерно 6 секунд).
После завершения первичной проверки центральный блок управления системы SRS непрерывно контролирует систему SRS на наличие неисправностей.
- Загорается контрольная лампа аварийного состояния SRS.
- Контрольная лампа аварийного состояния SRS гаснет, а затем загорается. Такая схема мигания свидетельствует об уменьшении напряжения на источнике питания. Через 10 секунд после восстановления рабочего напряжения питания контрольная лампа аварийного состояния SRS выключается.
Если система подушек безопасности SRS работает нормально:
Контрольная лампа аварийного состояния SRS загорается только на время выполнения первичной проверки (примерно на 6 с после включения зажигания (IG)).
- Контрольная лампа аварийного состояния SRS продолжает гореть после завершения первичной проверки.
- Контрольная лампа аварийного состояния SRS гаснет после завершения первичной проверки, но загорается во время непрерывной проверки.
- Контрольная лампа аварийного состояния SRS не включается после перевода зажигания из выключенного во включенное (IG) состояние.
УКАЗАНИЕ: В случае развертывания подушки безопасности центральный блок управления системы SRS поддерживает контрольную лампу аварийного состояния SRS в горящем состоянии.
Включите зажигание (IG) и проверьте, включилась ли контрольная лампа аварийного состояния SRS примерно на 6 секунд (первичная проверка).
Убедитесь, что контрольная лампа аварийного состояния SRS включается примерно на 6 секунд (непрерывная проверка) после включения зажигания (IG).

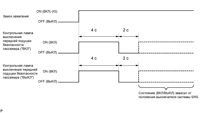
| Ручной выключателя системы SRS Подушка безопасности пассажира ON (ВКЛ)/OFF(ВЫКЛ) | Контрольная лампа включения/выключения передней подушки безопасности пассажира | Контрольная лампа аварийного состояния SRS | |
| Контрольная лампа включения | Контрольная лампа выключения | ||
| ON (ВКЛ) | ON (ВКЛ) | OFF (ВЫКЛ) | OFF (ВЫКЛ) |
| OFF (ВЫКЛ) | OFF (ВЫКЛ) | ON (ВКЛ) | OFF (ВЫКЛ) |
| Неисправность выключателя | OFF (ВЫКЛ) | ON (ВКЛ) | ON (ВКЛ) |
Почему горит подушка безопасности на приборной панели? Поиск неисправности, основные причины
Если выполнить ремонт, в зависимости от причин, но после этого не сбросить ошибку, лампочка продолжит гореть.
Главное — собственная безопасность!

Почему загорается лампочка Airbag, причины неисправности SRS, способы устранения — полезные статьи на Автодромо
- Контрольная лампа аварийного состояния SRS периодически включается после завершения первичной проверки.
- Контрольная лампа аварийного состояния SRS горит, но коды DTC не выводятся.
- Зажигание переводится из выключенного во включенное (IG) состояние, но контрольная лампа аварийного состояния SRS не включается.
Почему горит лампочка подушки безопасности: как убрать ошибку и устранить неисправность Кому интересно, по этой ссылке вы можете узнать о видах подушек, их устройстве и принципе работы.
Если горит значок подушки безопасности: возможные причины
Нештатную работу индикатора подушек безопасности (ПБ) могут вызвать следующие неисправности:
- авария, приведшая к срабатыванию ПБ и преднатяжителей ремней безопасности (достаточно одной из них);
- нарушение целостности электропроводки, идущей к датчикам и исполнительным механизмам системы SRS;
- программные сбои блока SRS, переполнение его памяти;
- нарушение по цепям питания блока SRS;
- неисправность индикаторной панели;
- нарушение связи с SRS блоком по CAN-шине (локальной сети автомобиля), приводящее к тому, что состояние блока ПБ неизвестно.
В каждом из этих случаев для устранения проблем с индикатором подушек безопасности необходимо действовать по отдельному алгоритму.

Горит неисправность подушки безопасности | Хитрости Жизни
- блок управления SRS (1). Чаще всего располагается в центральной консоли. Его определить непросто, во многих случаях он не подписан, точнее, имеет цифровую подпись. Для того, чтобы определить, что это точно блок SRS необходимо «пробить» его номер, нанесенный на блоке, по поисковику;
- датчики ударов (2). Их может быть несколько, в данном авто четыре. Если вышел из строя один из них, система работать будет, но ошибка будет выскакивать;
- пиропатроны преднатяжителей безопасности (3,4). Предназначены для заклинивания ремней во время аварии;
- передние, боковые, задние ПБ;
- выключатель системы SRS (5). Обычно он имеет такой вид:
Горит лампочка Airbag, причины, способы устранения неисправностей Одной из наиболее распространенных причин, почему горит лампочка подушки безопасности, является обрыв в цепи. Диагностический сканер позволяет считать код ошибки из автомобиля, а после определить конкретное место, где произошел обрыв цепи. Чаще всего подобная проблема возникает после того, как:
Причины неисправностей в работе системы
На самом деле причин для появления неисправностей или поломок в работе системы SRS Airbag множество, но мы выделим наиболее распространенные из них:
- всевозможные системные ошибки и сбои в работе Airbag;
- поломка подушки безопасности;
- неисправности в работе контактов или проводки; плохое соединение важных разъемов;
- повреждение датчиков;
- пропадание сигналов (от датчиков, ремней или подушек);
- неисправность управляющего блока;
- неправильная установка сигнализации, которая привела к сбою в работе системы безопасности;
- отсоединение или поломка клемм или предохранителей;
- некачественно проведенный тюнинг салона;
- некачественный ремонт подушек безопасности;
- при проведении уборки, мойки и чистки были задеты клеммы, предохранители, датчики ударов, разъемы;
- неправильная замена рулевого колеса

Что делать, когда загорается лампа системы безопасности?
Устранение ошибки Airbag

Как проверить датчик, если горит лампочка подушки безопасности на панели
- Проверить работу системы при включении двигателя автомобиля. Если индикатор подушек безопасности работает в штатном режиме, не о чем переживать. Если все же обнаружены неисправности, следует провести полную диагностику системы.
- Для прохождения диагностики самым оптимальным вариантом будет обращение на станцию техобслуживания или в автосервис. Диагностика системы проводится при помощи специального сканера, который считывает ошибки в памяти системы, затем выясняет код ошибки, после чего определяет способы их устранения.
- Следующий этап – проведение замены или полноценного ремонта на основании выявленных неисправностей.
- После проведения всех восстановительных работ заключительным этапом является обновление памяти управляющего блока для корректной работы системы.
Распространенные неисправности Наиболее сложно менять подушку, расположенную в руле.
Устранение неисправностей системы Airbag
Неисправности проводки устранить легко – проверяются все соединения, устраняются обрывы, зачищаются места контактов. Хуже, если повреждены датчики, исполнительные механизмы или блок управления. Для устранения таких неисправностей элементы меняются, а стоят они недешево.
В случае проблем с исполнительными механизмами (они неисправны, исчерпан ресурс) или датчиками определения наличия пассажира систему можно обмануть, чтобы она нормально прошла самодиагностику, и лампа не горела.
Но стоит понимать, что при ДТП отключенная система airbag SRS не сработает. Поэтому обманки лучше не использовать или применять их непродолжительный срок
Видео: Индикатор подушек безопасности. Как снять ошибку.

Если горит значок подушки безопасности: возможные причины
Если при пуске зажигания значок вообще не загорается ни разу, система вышла из строя, либо же лампочка просто перегорела.
Почему горит и не тухнет

Иные причины
- сначала система работает сама – проверяет свою работоспособность при включении зажигания, при обнаружении ошибки записывает ее код;
- далее вступает механик – он считывает код и определяет причину поломки;
- система проверяется специализированным диагностическим оборудованием;
- выполняются ремонтные операции;
- обновляется память блока управления.
Рекомендуем Подушки это фактически исполнительный механизм. За его срабатывание отвечают электронные системы, которые реагируют на столкновения и удары, и тем самым активируют пиропатрон. Подушка наполняется воздухом за доли секунды, и зачастую это спасает человеку жизнь.
Почему горит лампочка подушки безопасности?
Учитывая большое количество элементов, взаимосвязано работающих с подушками безопасности, индикатор на приборной панели может загореться при неисправности любого из них. Не стоит забывать и о необходимости передачи сигнала от одного устройства к другому, и если взаимосвязь между ними нарушена, лампочка подушек подушки безопасности так же об этом просигнализирует.
Ниже мы рассмотрим наиболее распространенные варианты, почему горит лампочка подушки безопасности.
Проблемы с проводкой и разъемами
Одной из наиболее распространенных причин, почему горит лампочка подушки безопасности, является обрыв в цепи. Диагностический сканер позволяет считать код ошибки из автомобиля, а после определить конкретное место, где произошел обрыв цепи. Чаще всего подобная проблема возникает после того, как:
- Из автомобиля доставались сидения, в результате чего могла повредиться проводка, которая следует от них к электронному блоку управления или под ними;
- Происходило снятие руля автомобиля, а вместе с тем отключение разъема подушки безопасности, в результате чего он мог быть поврежден или не до конца подключен при сборке;
- Произошло замыкание проводки в любой другой части автомобиля.
Снималась передняя панель автомобиля, после чего могли быть не до конца защелкнуты разъемы или повреждена проводка от датчиков к натяжителям ремня безопасности;
Без диагностического сканера определить проблему с проводкой, из-за которой горит индикатор подушки безопасности, практически невозможно. Если отсутствует любой из сигналов, лампочка загорится и не погаснет до того момента, пока информация не будет передаваться между элементами системы без ошибок.
Неисправности датчиков
Еще одной частой проблемой, из-за которой загорается лампа подушки безопасности, является неисправность датчиков. Система срабатывания подушки безопасности зависит от двух типов датчиков:
Такую ошибку как отсутствие сигнала от датчиков, так же можно определить при помощи диагностического сканера.
Другие проблемы

Существует масса проблем, как механических, так и электрических, из-за которых может гореть индикатор подушки безопасности. Помимо перечисленных выше, из встречающихся часто неисправностей можно отметить:
- Низкое напряжение аккумулятора. Чтобы устранить проблему, следует проверить напряжение на аккумуляторе, а если оно низкое, зарядить батарею или заменить ее;
- «Забитую» память управляющего электронного блока. Если подушка безопасности уже срабатывала, а после установки новой память блока управления не была обнулена, это станет причиной, по которой горит индикатор подушки безопасности;
- Неисправность самой подушки безопасности – нарушение ее герметичности;
- Неисправность пиропатрона, возможно, из-за превышения лимита его эксплуатации, который чаще всего составляет 10 лет;
- Повреждение блока управления, как механическое, так и программное. Чаще всего проблема с программным обеспечением возникает при обновлении прошивки ЭБУ или проведении чип-тюнинга.
Сброс ошибки
Виды обозначений индикатора подушек безопасности и его поведение Чтобы определить, почему система не функционирует, применяют диагностический сканер. С его помощью можно найти место, где сигнал теряется.
